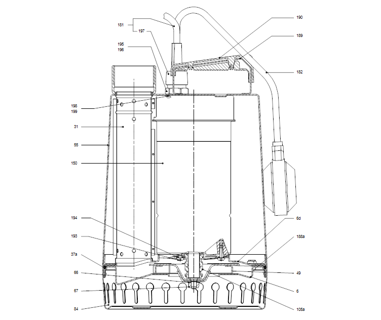
Tauchpumpe Typ UNILIFT AP12.40.06.A1 mit Schwimmerschalter.
Schmutzwasserpumpe
Vertikale 1-stufige Schmutzwasserpumpe in Niro-Ausführung mit vertikalem Druckstutzen und integriertem überflutbaren vollständig gekapselten 1-phasigen Motor und eingebauten Thermoschutzschalter, entsprechend Isolationsklasse F.
Die Pumpe ist mit einem Einlaufsieb und einem Schwimmerschalter für automatisch EIN-AUS ausgestattet.
Die Pumpe besitzt ein halboffenes Laufrad mit 12 mm freiem Durchgang und ist geeignet zur Förderung von Oberflächenwasser, Grundwasser und Regenwasser.
Die Pumpe verfügt über eine doppelte Wellen- abdichtung bestehend aus einer Gleitringdichtung und einer Ölsperrkammer, die mit einem unbedenklichem Spezialöl gefüllt ist.
Die Pumpe ist versehen mit einem Steigrohr, wartungsfreien, dauergeschmierten Wälzlagern und einem Kühlmantel, der vom Fördermedium durch- strömt wird und den Motor permanent kühlt.
Die Pumpe ist stationär und transportabel einsetzbar. Um das Eindringen von Feuchtigkeit in die Statorwicklungen zu verhindern, ist das Netzkabel mit vergossenen Leitungskontakten versehen.
Im Aussetzbetrieb 20 Schaltspiele pro Stunde.
Netz und Schwimmerschalterkabel sind steckbar. Die Vergußmasse aus Glas in der Steckdose verhindert das Eindringen von Feuchtigkeit in die Motorwicklung.
| Fördermedium: | ||
| Medientemperaturbereich: | 0 .. 55 °C | |
| Medientemperatur während des Betriebs: | 20 °C | |
| Dichte: | 998.2 kg/m³ | |
| Technische Daten: | ||
| Maximaler Förderstrom: | 5 l/s | |
| Laufradtyp: | SEMI OPEN | |
| Maximale Partikelgröße: | 12 mm | |
| Approvals: | CE,RCM,VDE,LGABG,EAC,TUVRHWID,MORO,UKCA,SEPRO | |
| Werkstoffe: | ||
| Pumpengehäuse: | Edelstahl | |
| Pumpenmantel: | EN 1.4301 | |
| Pumpengehäuse: | AISI 304 | |
| Laufradwerkstoff: | Edelstahl | |
| Laufrad: | EN 1.4301 | |
| Laufradwerkstoff gemäß ASTM: | AISI 304 | |
| Cable union: | Messing | |
| CW602N | ||
| C35330 | ||
| Installation: | ||
| Umgebungstemperatur: | 0 .. 55 °C | |
| Anschlusstyp: | Rp | |
| Anschlussgröße: | 1 1/2 inch | |
| Maximum installation depth: | 2 m | |
| Place of installation: | Indoor | |
| Elektrische Daten: | ||
| Leistungsaufnahme P1: | 0.9 kW | |
| Motortyp: | PSC | |
| Rated power - P2: | 0.6 kW | |
| Netzfrequenz: | 50 Hz | |
| Bemessungsspannung: | 1 x 230 V | |
| Nennstrom: | 4.4 A | |
| Cos phi - Leistungsfaktor: | 0.99 | |
| Bemessungsdrehzahl: | 2785 1/min | |
| Größe des Betriebskondensators: | 16 µF/400 V | |
| Schutzart (gemäß IEC 34-5): | IP68 | |
| Isolationsklasse (IEC 85): | F | |
| Length of power cable: | 5 m | |
| Art des Kabelsteckers: | SCHUKO | |
| Sonstiges: | ||
| Nettogewicht: | 12 kg | |
| Bruttogewicht: | 12.2 kg | |
| Herkunftsland: | HU | |
| Zolltarif Nr.: | 84137021 | |
| Zulassungen: | WEEE |
Videos
Hier können Sie Videos hinzufügen.
Versand & Zahlung
Schneller und sicherer Versand ganz Europaweit
Wir versenden Ihre Bestellungen zuverlässig mit unseren Premium-Partnern DHL, DPD und Schenker. So erreichen Ihre Pakete Sie im Handumdrehen – ob um die Ecke oder an die entlegenste Adresse Europas.
Zahlungsarten
Wählen Sie aus unseren sicheren und flexiblen Zahlungsoptionen:
Rechnung für Geschäftskunden (B2B) – Zahlung nach Freigabe Ihrer Bestellung
PayPal – schnell und einfach, ohne direkte Weitergabe Ihrer Kontodaten
Vorauskasse – Überweisen Sie den Betrag im Voraus, wir versenden nach Zahlungseingang
Kreditkarte (Visa, MasterCard, American Express) – sicher und sofort belastbar
Alle Zahlarten sind durch moderne Verschlüsselungstechnologien geschützt und garantieren Ihnen maximale Sicherheit und Komfort.
GRUNDFOS Tauchmotorpumpe UNILIFT AP12.40.06.A1 - Art Nr. 96001735
GRUNDFOS Tauchmotorpumpe UNILIFT AP12.40.06.A1 - Art Nr. 96001735
Unsere Vorteile
- Faire Preise – das ganze Jahr
- Top-Markenqualität von führenden Herstellern
- Sicherer & transparenter Versand
- 2 % Skonto bei Zahlung per Vorkasse
- Kompetente Beratung – telefonisch, per Mail oder persönlich
Informationen
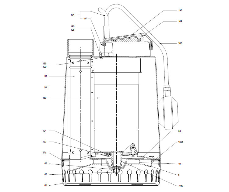
Tauchpumpe Typ UNILIFT AP12.40.06.A1 mit Schwimmerschalter.
Schmutzwasserpumpe
Vertikale 1-stufige Schmutzwasserpumpe in Niro-Ausführung mit vertikalem Druckstutzen und integriertem überflutbaren vollständig gekapselten 1-phasigen Motor und eingebauten Thermoschutzschalter, entsprechend Isolationsklasse F.
Die Pumpe ist mit einem Einlaufsieb und einem Schwimmerschalter für automatisch EIN-AUS ausgestattet.
Die Pumpe besitzt ein halboffenes Laufrad mit 12 mm freiem Durchgang und ist geeignet zur Förderung von Oberflächenwasser, Grundwasser und Regenwasser.
Die Pumpe verfügt über eine doppelte Wellen- abdichtung bestehend aus einer Gleitringdichtung und einer Ölsperrkammer, die mit einem unbedenklichem Spezialöl gefüllt ist.
Die Pumpe ist versehen mit einem Steigrohr, wartungsfreien, dauergeschmierten Wälzlagern und einem Kühlmantel, der vom Fördermedium durch- strömt wird und den Motor permanent kühlt.
Die Pumpe ist stationär und transportabel einsetzbar. Um das Eindringen von Feuchtigkeit in die Statorwicklungen zu verhindern, ist das Netzkabel mit vergossenen Leitungskontakten versehen.
Im Aussetzbetrieb 20 Schaltspiele pro Stunde.
Netz und Schwimmerschalterkabel sind steckbar. Die Vergußmasse aus Glas in der Steckdose verhindert das Eindringen von Feuchtigkeit in die Motorwicklung.
| Fördermedium: | ||
| Medientemperaturbereich: | 0 .. 55 °C | |
| Medientemperatur während des Betriebs: | 20 °C | |
| Dichte: | 998.2 kg/m³ | |
| Technische Daten: | ||
| Maximaler Förderstrom: | 5 l/s | |
| Laufradtyp: | SEMI OPEN | |
| Maximale Partikelgröße: | 12 mm | |
| Approvals: | CE,RCM,VDE,LGABG,EAC,TUVRHWID,MORO,UKCA,SEPRO | |
| Werkstoffe: | ||
| Pumpengehäuse: | Edelstahl | |
| Pumpenmantel: | EN 1.4301 | |
| Pumpengehäuse: | AISI 304 | |
| Laufradwerkstoff: | Edelstahl | |
| Laufrad: | EN 1.4301 | |
| Laufradwerkstoff gemäß ASTM: | AISI 304 | |
| Cable union: | Messing | |
| CW602N | ||
| C35330 | ||
| Installation: | ||
| Umgebungstemperatur: | 0 .. 55 °C | |
| Anschlusstyp: | Rp | |
| Anschlussgröße: | 1 1/2 inch | |
| Maximum installation depth: | 2 m | |
| Place of installation: | Indoor | |
| Elektrische Daten: | ||
| Leistungsaufnahme P1: | 0.9 kW | |
| Motortyp: | PSC | |
| Rated power - P2: | 0.6 kW | |
| Netzfrequenz: | 50 Hz | |
| Bemessungsspannung: | 1 x 230 V | |
| Nennstrom: | 4.4 A | |
| Cos phi - Leistungsfaktor: | 0.99 | |
| Bemessungsdrehzahl: | 2785 1/min | |
| Größe des Betriebskondensators: | 16 µF/400 V | |
| Schutzart (gemäß IEC 34-5): | IP68 | |
| Isolationsklasse (IEC 85): | F | |
| Length of power cable: | 5 m | |
| Art des Kabelsteckers: | SCHUKO | |
| Sonstiges: | ||
| Nettogewicht: | 12 kg | |
| Bruttogewicht: | 12.2 kg | |
| Herkunftsland: | HU | |
| Zolltarif Nr.: | 84137021 | |
| Zulassungen: | WEEE |
Videos
Videos
Hier können Sie Videos hinzufügen.
Downloads
Versand & Zahlung
Versand & Zahlung
Schneller und sicherer Versand ganz Europaweit
Wir versenden Ihre Bestellungen zuverlässig mit unseren Premium-Partnern DHL, DPD und Schenker. So erreichen Ihre Pakete Sie im Handumdrehen – ob um die Ecke oder an die entlegenste Adresse Europas.
Zahlungsarten
Wählen Sie aus unseren sicheren und flexiblen Zahlungsoptionen:
Rechnung für Geschäftskunden (B2B) – Zahlung nach Freigabe Ihrer Bestellung
PayPal – schnell und einfach, ohne direkte Weitergabe Ihrer Kontodaten
Vorauskasse – Überweisen Sie den Betrag im Voraus, wir versenden nach Zahlungseingang
Kreditkarte (Visa, MasterCard, American Express) – sicher und sofort belastbar
Alle Zahlarten sind durch moderne Verschlüsselungstechnologien geschützt und garantieren Ihnen maximale Sicherheit und Komfort.


